
(图片来源:electrek.co)
盖世汽车讯 据外媒报道,特斯拉公司(Tesla)目前正在研发一种既柔软又耐用的新型面料,以让电动汽车座椅的使用寿命更长。如今,特斯拉的该项目在其一项新专利申请中得以曝光,特斯拉去年年底提交了该专利申请,现在该申请刚刚被公开。
该专利名为“承重面料架构”,而且特斯拉在专利申请中,描述了目前高档汽车面料遇到的一些问题:“目前用于汽车和其他环境中的高档面料都是由手感非常柔软的细羊毛(例如,美利奴羊呢绒和羊绒)制成,但是,此类面料不够耐用,无法承受因乘客不断进出车辆造成的磨损。由于羊毛是非常脆弱的面料,只能够在较小区域使用,而且还不能承受反复应力。因此,或许可以使用耐用面料替代此类在一些区域使用易受到高度磨损的高档面料。但是此类耐用面料通常看起来或者感觉起来不像天然面料(如细羊毛)那么奢华。其中一种解决方案是将细羊毛与更耐用的纱线或纤维混合,但是此种面料会既不耐用,摸起来又不柔软。”

特斯拉表示其找到了一种解决方案。根据其提交的专利申请,特斯拉研发出了一种新型面料架构,触感柔软且耐用:
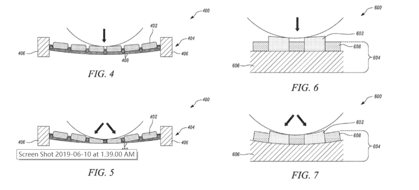
此次发明的面料架构是一种承重面料架构,不仅具有柔软触感,而且可以承受施加在其之上的各种负荷。该支撑系统包括连接到软表面材料的一个框架和结构表面材料,而且部分软表面材料包裹了该支撑系统,结构表面材料也连接到框架之上。该支撑系统为施加在软表面材料的负荷提供支撑,在施加负荷时,软表面材料会向下沉,使结构表面材料与负荷接触。由于该承重面料架构的柔软表面材料由羊毛制成,因而触感柔软。此外,纱线等结构表面材料可让该面料能够承受各种负荷。
几年来,特斯拉内饰选择上一直在采用纺织物座椅,但是现在基本转用合成革座椅。此次公布的新专利申请可能意味着特斯拉正试图采用不同材料。



